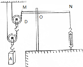
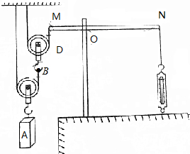
如图,轻质杠杆MON在水平位置静止时OM:ON=1:2,弹簧测力计的示数为10N,已知每个滑轮重2N,则物体A重为N(不计绳重及摩擦).
问题描述:
如图,轻质杠杆MON在水平位置静止时OM:ON=1:2,弹簧测力计的示数为10N,已知每个滑轮重2N,则物体A重为___N(不计绳重及摩擦).
最佳答案: 
如图,不计绳重及摩擦,B点受到的拉力FB=
| 1 |
| 2 |
杠杆M端受到的拉力:
FM=
| 1 |
| 2 |
| 1 |
| 2 |
| 1 |
| 2 |
| 1 |
| 4 |
| 3 |
| 4 |
杠杆N端受到的拉力:
FN=10N,
由杠杆平衡条件得:
FM×OM=FN×ON,
(
| 1 |
| 4 |
| 3 |
| 4 |
(
| 1 |
| 4 |
| 3 |
| 4 |
解得
GA=74N.
故答案为:74.
版权声明
声明:有的资源均来自网络转载,版权归原作者所有,如有侵犯到您的权益
请联系本站我们将配合处理!
