如图所示,轻质弹簧的一端与固定的竖直板P连接,另一端与物体A相连,物体A静止于光滑水平桌面上,右端连一细线,细线绕过光滑的定滑轮与物体B相连.开始时用手托住B,让细线恰好伸
问题描述:
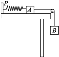
如图所示,轻质弹簧的一端与固定的竖直板P连接,另一端与物体A相连,物体A静止于光滑水平桌面上,右端连一细线,细线绕过光滑的定滑轮与物体B相连.开始时用手托住B,让细线恰好伸直,然后由静止释放B,直至B获得最大速度.下列有关从释放到获得最大速度整个过程分析正确的是( )
A. 绳的拉力大小始终大于弹簧的弹力大小
B. B物体机械能的减少量等于A的机械能增加量
C. A、B组成的系统机械能的减少量等于克服弹簧弹力做的功
D. A、B的动能增加量等于重力对B物体做功与弹簧对A的弹力做功之和
最佳答案: A、以A、B组成的系统为研究对象,有mBg-kx=(mA+mB)a,从开始到B速度达到最大的过程中加速度逐渐减小最后减小到零,对a受力分析,由T-kx=mAa可知,在此过程绳子上拉力开始大于弹簧弹力,当B获得最大速度,加速度为零,此时拉力等于弹簧弹力,故A错误;
B、整个系统中,根据功能关系可知,B减小的机械能能转化为A的机械能以及弹簧的弹性势能,故B物体机械能的减少量大于弹簧弹性势能的增加量,故B错误;
C、系统机械能的增量等于系统除重力之外的力所做的功,对AB物体组成的系统弹簧弹力为除重力以外的力,AB物体组成的系统机械能的增加量等于克服弹簧弹力做的功,故C正确;
D、对于AB物体组成系统,只有重力与弹簧弹力做功,根据动能定理可知,A、B的动能增加量等于重力对B物体做功与弹簧对A的弹力做功之和,故D正确;
故选:CD
版权声明
声明:有的资源均来自网络转载,版权归原作者所有,如有侵犯到您的权益
请联系本站我们将配合处理!
