问题描述:
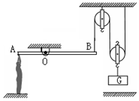
如图所示,是利用器械提升重物的示意图.王师傅重800N,与地面的接触面积为4×10
-2m
2,动滑轮重100N.当滑轮下未挂重物时,王师傅用大小为F
1的力匀速举起杠杆的A端,使杠杆在水平位置平衡时,他对地面的压强p
1=2.375×10
4Pa;当滑轮下加挂重物G后,他用1500N的力匀速举起杠杆的A端,使杠杆再次在水平位置平衡.假设王师傅用的力和绳端B用的力始终沿竖直方向.(杠杆、绳重和机械间摩擦忽略不计,g取10N/kg)求:

(1)王师傅自由站在水平地面时,对地面的压强(2)滑轮下未挂重物时,王师傅所用的力F
1(3)滑轮下所挂重物G的重力.
最佳答案: (1)王师傅自由站在水平地面时,对地面的压力:F=G=800N,对地面的压强:p=
=
=2×104Pa;(2)当滑轮下未挂重物时,王师傅对水平地面的压力:F′=p′S=2.375×104Pa×4×10-2m2=950N,因王师傅对水平地面的压力等于自身的重力加上杠杆的压力,所以,王师傅所用的力:F1=F′-G=950N-800N=150N;(3)当滑轮下未挂重物时,由图可知动滑轮受到两个相向上的拉力和竖直向下的重力,则绳子的拉力FB=
G动=
×100N=50N,由杠杆的平衡条件可得:F1OA=FBOB,则
=
=
=
,当滑轮下加挂重物G后,由杠杆的平衡条件可得:F2OA=FB′OB,则B绳子的拉力FB′=
F2=
×1500N=500N,把动滑轮和重物看做整体,受到竖直向上两股绳子的拉力,竖直向下动滑轮和物体的重力之和,由平衡条件可得:2FB′=G动+G,则G=2FB′-G动=2×500N-100N=900N.答:(1)王师傅自由站在水平地面时,对地面的压强为2×104Pa;(2)滑轮下未挂重物时,王师傅所用的力为150N;(3)滑轮下所挂重物G的重力为900N.