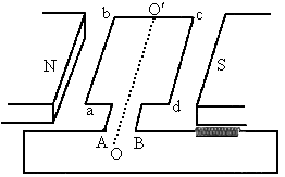
线圈在磁场中的初始位置如图所示.若ab边向下、cd边向上沿逆时针方向转动,导体切割磁感线,则电路中有感应电流,这时外部电路十的电流由A到B.若使外部电路中的
问题描述:
线圈在磁场中的初始位置如图所示.若 ab 边向下、 cd 边向上沿逆时针方向转动,导体切割磁感线,则电路中有感应电流,这时外部电路十的电流由 A 到 B .若使外部电路中的电流由 B 到 A ,下列方法不可行的是
[ ]
| A .线圈转过 180 ° | B .线圈顺时针转动 |
| C .磁极对调 | D .线圈转过 90 ° |
最佳答案: 答案:D解析: 改变线圈中感应电流的方向有两种方法:一是改变磁场的方向,如C中磁极对调,二是改变切割磁感线的运动方向,如A和B.而D项线圈转过90°后,ab边和cd边切割磁感线的运动方向并未改变,故选D.
版权声明
声明:有的资源均来自网络转载,版权归原作者所有,如有侵犯到您的权益
请联系本站我们将配合处理!
