在“探究弹力和弹簧伸长量的关系”的实验中,小明同学用甲、乙两根规格不同的弹簧进行实验,由实验得到弹簧伸长量x与弹簧受到的拉力F的关系如图(a)所示,由图求得弹簧乙的劲度系数为_________N/m。
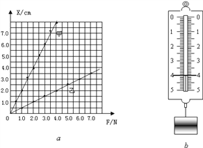
在“探究弹力和弹簧伸长量的关系”的实验中,小明同学用甲、乙两根规格不同的弹簧进行实验,由实验得到弹簧伸长量x与弹簧受到的拉力F的关系如图(a)所示,由图求得弹簧乙的劲度系数为_________N/m。若要在两根弹簧中选用一根来制作精确程度较高的弹簧秤,应选弹簧______;用制作好的弹簧秤来测量物体的重力,如图(b)所示,物体重_________N。

200, 甲, 4.00.
【解析】注意该图象中纵坐标为伸长量,横坐标为拉力,斜率的倒数为劲度系数,由此可求出
,由于甲的劲度系数小,因此其精度高.若要在两根弹簧中选用一个来制作精确程度较高的弹簧秤,应选弹簧甲.用制作好的弹簧秤来测量物体的重力,如图b所示,物体重4.00N.
版权声明
声明:有的资源均来自网络转载,版权归原作者所有,如有侵犯到您的权益
请联系本站我们将配合处理!
